An electronic copy of book is available for Library Members Sign in to view the book
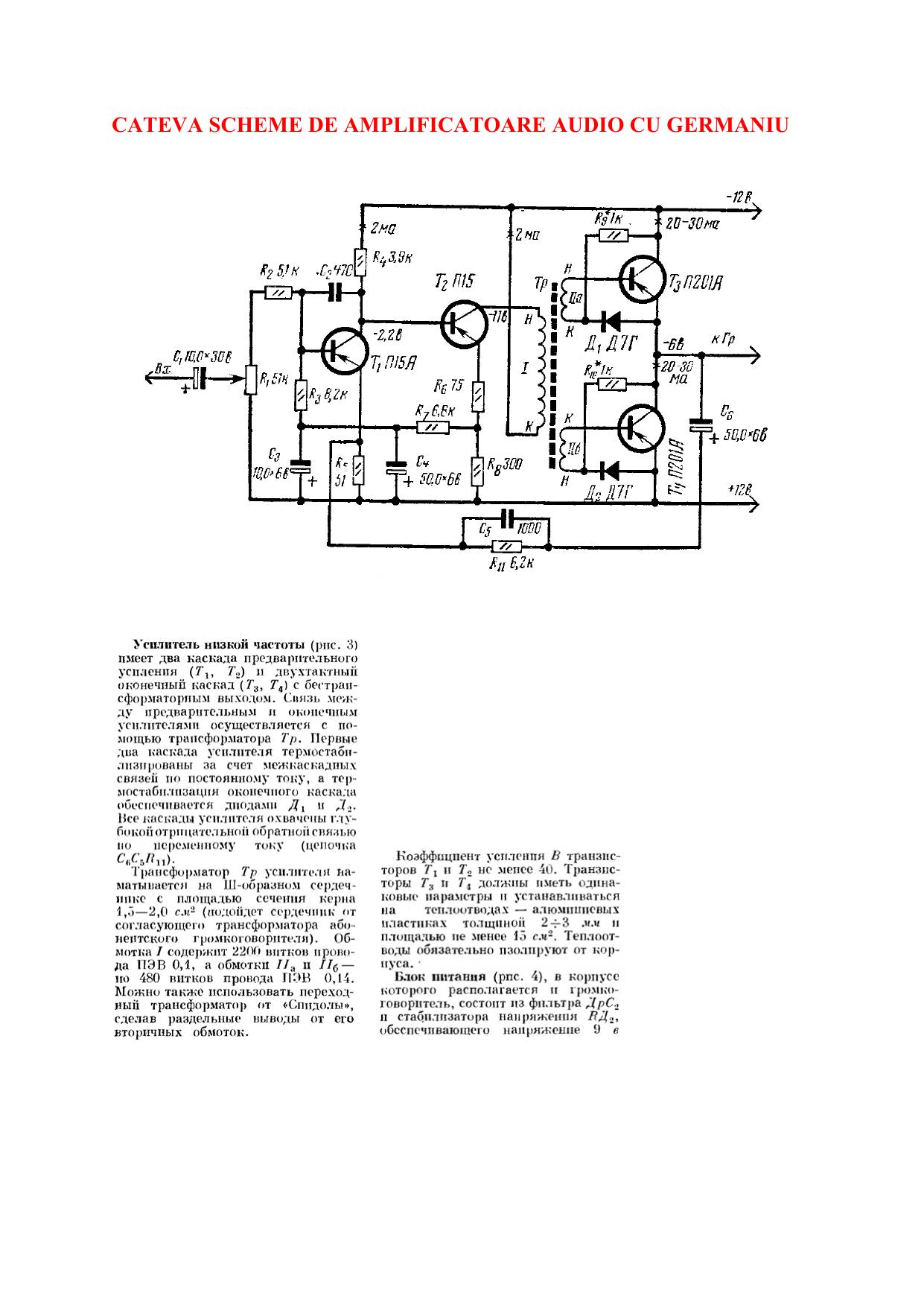
A short technical note (4 pages in the online copy) containing several schematic diagrams for audio amplifiers built with germanium transistors — examples include low-power AF (audio-frequency) amplifiers (~4 W) and final-stage amplifier schematics. The material reads like magazine-style schematics or hobbyist notes rather than a formal textbook: it focuses on circuit diagrams, component arrangements and brief operational remark
Sub Title:
Edition:
Volume:
Publisher:
Publishing Year: 2024
ISBN: None found
Pages: